全归类师在线,免费帮你解决商品归类疑难问题

 找回密码
 注册

QQ登录

只需一步,快速开始

手机号码,快捷登录

手机号码,快捷登录

在线
客服

在线客服服务时间: 9:00-24:00

选择下列客服马上在线沟通:

快速
发帖

客服
热线

010-62010715
7*24小时客服服务热线

关注
微信

关务资讯公众号
顶部
海关AEO认证申请全攻略2022年预归类师考试秘籍中国船务课程视频2020年关务水平测试培训
申请进出口商品预归类视频!AEO认证政策解读商品归类在线解答海关AEO认证,100%通过
AEO认证服务网北京岸谷关务官网预归类服务-归类师权威操作预归类考试网
查看: 2989|回复: 0

喜讯 | 厦门关区企业可以自行打印海关税单啦

[复制链接]
发表于 2022-10-16 09:45:23 | 显示全部楼层 |阅读模式
喜讯 | 厦门关区企业可以自行打印海关税单啦w2.jpg
6 d( g, z& r, U/ b( }, w- C7 a! T- Z: j# \4 p7 s* z3 u* M
为优化口岸营商环境,进一步降低企业报关成本,海关总署决定:/ ^, _7 c# F  Z1 Q1 u9 R9 z# _
- b# Q+ @! I1 O  j, F8 b5 u
自2018年11月19日起,全面推广《海关专用缴款书》企业自行打印改革!
& Q3 t6 c, w  r/ f- ^
1 p3 N% N) c% P7 k/ s7 P 喜讯 | 厦门关区企业可以自行打印海关税单啦w3.jpg + k* }- B2 t. x" i
1
7 R" j5 d2 O- U/ P3 a5 c; g什么是《海关专用缴款书》打印改革& {  t! O) r' \& \; j: F

/ l! r- q$ v8 J/ S- {/ q《海关专用缴款书》就是日常大家所称的“海关税单”。; K8 j2 z* m& z0 _2 M/ P
/ C8 G' B% M( Y4 V4 l7 m1 N/ R
《海关专用缴款书》打印改革是指将海关在报关现场柜台打印税单统一交付企业的传统模式,改革为企业以海关电子缴税方式缴纳税款后在本单位自行打印税单,即企业以海关电子缴税方式缴纳税款后,系统将已经电子支付的税单生成版式文件直接推送到单一窗口、“互联网+海关”平台,企业可通过互联网直接浏览在线打印税单、下载税单、导出数据。! u1 X0 T3 h# ]5 Z. E( d: ~
$ b$ w$ L" a, X7 s# _4 k2 I
2. Q" o3 ]  D% D) [

6 k2 P) N+ ]$ Q# ~5 \) Q0 ]2 g2 [' r哪些税单种类支持企业自主打印
/ S* f% f/ ~  v! g2 x% b' K' N& B: P- ?& l
喜讯 | 厦门关区企业可以自行打印海关税单啦w4.jpg # |4 Y  o: I, ~  ]( j4 r! }

0 ^' U- J' E1 r' X1 a$ m! n8 i 喜讯 | 厦门关区企业可以自行打印海关税单啦w5.jpg ! T. v$ y! W3 m& k1 d. k# \* T

5 w( F, r# W' H% i4 I$ i 厦门关区进出口企业税单自助打印11.19全面上线
5 H1 b" n* x7 \) L9 t' A' V  S, H
6 @* k: @  r6 z# ]- h. f 喜讯 | 厦门关区企业可以自行打印海关税单啦w6.jpg
$ Y5 I5 j5 z3 Q' q/ F! M5 f* r# T% W
小编将在下面介绍厦门关区进出口企业税单自助打印具体操作流程:& E2 n1 b+ X2 S
/ K8 L3 {; c+ Q; E
( h8 l4 a" L! a5 g) q4 P
! U9 e( `0 M8 J9 l& \% z% O0 b
下载电子《海关专用缴款书》入口1 ?" N# o4 n5 O+ v& s; k. c2 c( g
1 F$ q- \# j5 e: c# |# }) z
1.国际贸易“单一窗口”标准版:
. B% Y3 _+ m) \" H7 D/ _# v5 Y' B; b7 F* v1 G
https://www.singlewindow.cn
9 X% D8 H: u+ j+ Z" y2 T- r
4 M/ ?: }% [' d, S8 P9 p. R6 S7 e2.“互联网+海关”一体化网上办事平台:+ ?  Y  n' X3 a3 @6 Y! A/ _9 Q
) A, p7 A* \" `1 W- `( b
http://online.customs.gov.cn
$ ~; r% H/ n2 ?' l$ H! R3 p% o! p7 L, Y8 I
国际贸易“单一窗口”标准版如何打印税单6 ~! O) d2 G* [* O4 W# n
! k0 c0 a1 Y1 @  _; I5 T! @$ R$ a5 X
1.插入法人卡,使用卡介质登录授权4 s8 H. u& q) r

$ _; t$ |/ L& \! [6 ^/ v# U, w① 业务权限授权--选择是否启用系统权限  X7 y$ U# L% T' Y% k+ J; Y. p4 h
; F! v% o5 X3 y* v  w' o7 _
喜讯 | 厦门关区企业可以自行打印海关税单啦w7.jpg
+ {# S5 [  S9 m# U% F$ _2 w5 c( {
喜讯 | 厦门关区企业可以自行打印海关税单啦w8.jpg ; R$ e. g; e% C$ v# O3 B

" D* y9 |, ?! p0 a②如果选择启用系统权限,要给对应用户勾选“版式文件打印”
1 p% ?6 x7 m2 L& h1 R' k! ^
) f3 L" k+ V$ }2 H 喜讯 | 厦门关区企业可以自行打印海关税单啦w9.jpg
2 m; k; h9 K6 D' R0 y
/ J$ \& O  `1 u③授权的逻辑(高级设置)8 |# K2 u( Q: _$ p3 J* m9 n
1 I7 j5 L0 w2 O1 S* O4 [1 C/ \
喜讯 | 厦门关区企业可以自行打印海关税单啦w10.jpg
3 X4 \$ D( n! P/ a; w  L1 a6 Z, Z) d
2.税单打印2 \* p0 x9 Q# S; Y& F5 f  ^

- @* k8 P3 ]6 M4 V①使用操作员卡登录,在版式文件打印功能中选择要打印的税单0 ~" Z4 ~! ]/ e& D1 A/ G
8 [; k2 ^5 h4 V$ A7 e8 q. e+ F
喜讯 | 厦门关区企业可以自行打印海关税单啦w11.jpg
8 k+ i- {# P: T! r& V
3 y! _2 }" p6 t& A; D0 i②打印出来的税单效果
' Q. u  B" J( L1 u% c" {; x9 A6 _  l% g# l
喜讯 | 厦门关区企业可以自行打印海关税单啦w12.jpg , d9 C+ Q. f  a5 v6 c* ~# ?# t
) G! w, U; j$ T: T: T0 ?# M
常见  问题4 c+ u6 k/ J, K: @/ Z9 @3 H! w
1 S! _: P8 s, N; t; r* ~/ T
1- C$ W' s3 a! q  i% b2 i  b0 I

- W& `# m- o: d8 @4 b使用操作员IC卡登录后,左侧没有版式文件打印的菜单?8 H# N& g' A$ i5 `/ l# B

' o* h/ s6 C% K! o! e解决办法:使用法人卡登录单一窗口税费支付系统,查看是否授予该操作员“版式文件”的权限;清除浏览器缓存、或者更换浏览器,重新登录。
) f7 B/ p$ z+ h( s! h, F: Q' J0 Z  e0 J/ r! U6 J9 ^5 a# R; V/ m
22 F+ E" H. U# O9 s4 e  y
" T0 j) O& h* |  A- {9 b% x
为什么打印缴款书,提示:未获取到版式文件?  r* Z1 ?( U' T. ^6 i" A$ n
2 Q% U  h0 k. v4 U4 z
解决办法:单一窗口已全面放开版式文件打印功能,但该功能需要实时调取海关的版式文件服务,需海关内网打开此开关,否则会有以上报错提示。如果没开开关,按现有流程找海关打印。同时目前只支持境内收发货人打印版式文件。# P8 J+ H9 u0 R& c( F: Y2 z
& t4 B* X9 M3 y  d9 O( Z) m
35 k  H* Z/ Y7 b, I( s! }+ S
+ n) y4 @" G/ |' a
更多问题咨询
; J4 F, `, `* Z" S  A8 G! U; L; q* O, r8 v2 e
12360,0592-968910
2 r& I( f+ T' I- P: e! z) d- `5 j3 [. a2 y( d* _
互联网+海关如何打印税单
' l+ P9 F9 F% d+ ?$ e+ B( h% z. H. G# o+ F4 {  x: O
1.系统登录
! R$ o4 C. z+ D2 \8 Q
) p' P$ R6 `& z3 v* |* ~ 喜讯 | 厦门关区企业可以自行打印海关税单啦w13.jpg   n, S) E7 \6 _( z
) a( @  ~/ x7 p, m) \$ l
喜讯 | 厦门关区企业可以自行打印海关税单啦w14.jpg & g) ~) H# f$ P

' {& u5 R: w4 z- A登录后选择页面底部”电子税单”, y7 y( w( M4 X. }

3 i' p, p9 Z5 l3 s$ O: y7 Y 喜讯 | 厦门关区企业可以自行打印海关税单啦w15.jpg $ G( D5 u' G% p4 _6 K- [6 j  a8 G

' t2 U8 C, \, i* G  m+ o进入税单查找页面
6 j6 s4 K% I$ z" R: @
6 B+ R6 ?5 ~! } 喜讯 | 厦门关区企业可以自行打印海关税单啦w16.jpg ( t' E) G! Q6 C# a& B* a: G4 H
. ~; D' O! t7 H! q7 Y" U# t3 G, \
2.打印税单9 b' M9 n7 x% m" J
) _" B$ @9 |; ?: Y+ z+ a& B
喜讯 | 厦门关区企业可以自行打印海关税单啦w17.jpg . v- b9 E' @# h' v7 j9 Q# _

5 [( V0 K, p5 _& c% ], K打印出来的税单
" e& M% ?1 O; q, k; |6 S9 V9 u$ ?/ H8 o/ i, @' \
喜讯 | 厦门关区企业可以自行打印海关税单啦w18.jpg
& c3 P8 c: L3 t8 J$ `" l- C5 n1 w! T) R' R& x0 g0 r
3.批量打印税单
) L" [$ f1 w4 _4 U9 |* g
! C; Q' q5 |: Z! T) O4 L' a- x+ x 喜讯 | 厦门关区企业可以自行打印海关税单啦w19.jpg
1 ^+ r* K% \4 ^
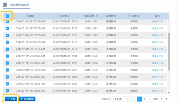
" d3 s! i- n- V# _* L输入缴款区间,进行查询
8 I* v1 y  O' W: r  Q7 z9 ~3 n* c9 X$ V- h; ~0 G" \
喜讯 | 厦门关区企业可以自行打印海关税单啦w20.jpg
; M) }! W0 O* @* O6 x5 h$ q, o: }  m  O
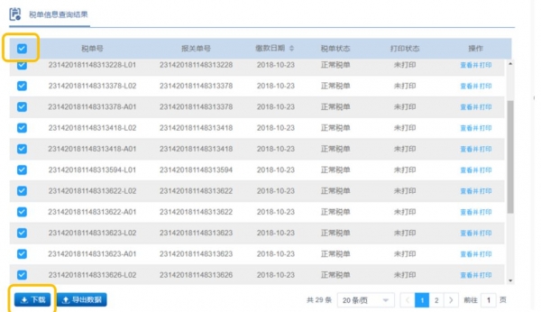
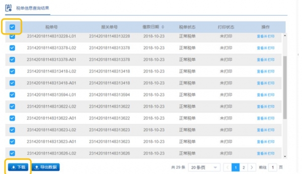
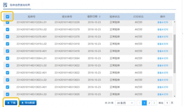
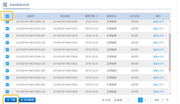
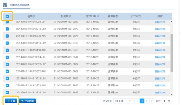
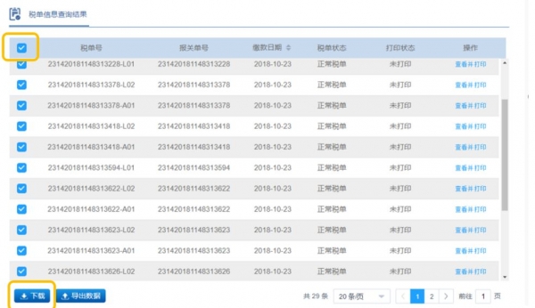
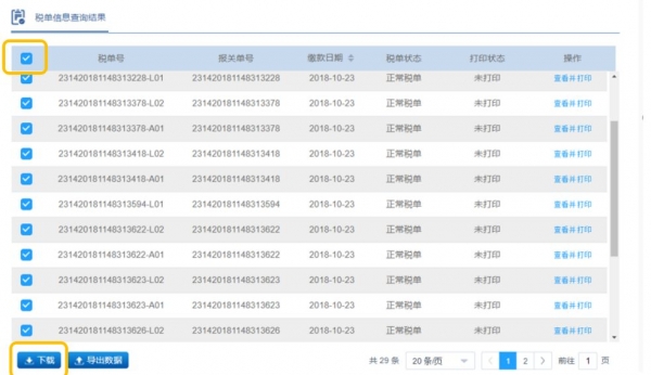
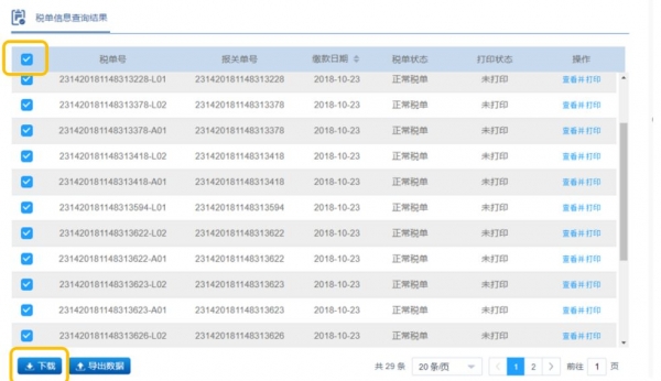
勾选所有税单,进行下载
9 X/ L$ y6 D" J/ _7 u. ?0 e/ b6 Q* }2 A* n" C9 l
喜讯 | 厦门关区企业可以自行打印海关税单啦w21.jpg $ s8 c* @' k. P; K5 a8 ~, s
: W8 ~" T5 A) ^. o  o; ^& y& e
下载完成的税单以PDF格式存在文件夹中* W2 b" ?% \2 f2 I: A4 {' ?

* j2 Y9 `9 X6 ] 喜讯 | 厦门关区企业可以自行打印海关税单啦w22.jpg
8 b6 v# p: {8 r: @; y( Z) T
; F. V: ^& O" ]% v: q2 ^& W9 [选中的税单可一键批量打印# }; z6 d. O" a& h1 I# T

3 i) ^3 @: s; L3 u 喜讯 | 厦门关区企业可以自行打印海关税单啦w23.jpg & f5 f1 i$ M1 S
) K+ K; A5 F/ o5 V/ {) C+ k
4.导出数据
7 T" t" S5 W+ S
7 u+ I/ A$ ?2 r# @0 f, `; c& R 喜讯 | 厦门关区企业可以自行打印海关税单啦w24.jpg 9 F$ k6 y9 p% Q! Z

' S# t, q. j" u; M$ K2 l: h, |" ?导出数据以excel格式存在,方便核对和做账' ^' p! ?, Q2 O! |$ d5 l5 _: g

  ?- e. V0 Z6 R 喜讯 | 厦门关区企业可以自行打印海关税单啦w25.jpg
- F" \4 Y' U$ ?/ I: B$ Z" n* i( N- E- V5 X
常见  问题% K4 W8 \- l2 X! i

- N4 K1 c4 F$ I6 I5 ?. G8 }1
% o6 _- K( `9 {! H& ?& j. C* l5 |/ Y3 i0 f& _8 U8 D" R7 h+ O
无法安装控件?6 l7 M$ y& r' S' O

. g& e, o$ _: }5 e2 G解决办法:这个问题可能与各个公司的IT管理权限有关,可以请公司IT协助安装控件,或者换个浏览器。
, j3 ~' {: A2 F, h" {& n: V2 F/ p6 h* _" O# ]( u
27 v6 G( A5 C" w  j& X: r
! B% w9 k- N3 u% u3 [: U
不断要求重复下载控件?
8 K$ y% j$ B, s8 u0 L+ E1 C: r2 ^& v% B- l' d# [1 n/ f0 |4 Y$ K5 f
解决办法:在电脑中彻底卸载旧版电子口岸控件,并重新下载安装新的电子口岸控件。. Q( g+ K5 }# }8 \8 K3 _& Q) [3 Z! A6 @
$ [9 o7 D$ e3 V# \& N( |/ E4 m
3
. V8 Z6 L1 [" q" Z* \( t0 A( W) f
; |7 \* ~& _  z输入报关单或者日期后网站显示找不到相关结果?
% U, b1 f! m4 [1 ^9 e$ j4 `, _
3 T4 _" U' y4 t4 B9 i% l解决办法:同时键盘按ctrl+shift+delete键清理缓存后重新登录。
) V* U. m% f) l6 q( ~
2 r2 N9 o1 N" t+ H: i1 L+ Z3
3 z/ Q& u! ]* i3 ?) f
3 H: J8 z+ m2 [6 D/ F, N更多问题咨询?
+ ^+ E5 R' S* c6 a- L3 _; m0 E$ T* X# B6 ~& }2 K1 I# l
12360,0592-968910
: I* M1 ^4 u- ?+ D* t7 q) \2 [. _: N+ |) A( ]1 _

' n& ?8 E+ s* Z/ Y  L2 X5 r. y7 g" s* C- r% L+ e- N% e0 Y
以上就是厦门关区进出口企业税单自助打印具体操作流程,现在小编还将给大家介绍一些常见的问题:/ W$ u: }& L* x
  f' X  l8 b3 a! r' Z1 y
喜讯 | 厦门关区企业可以自行打印海关税单啦w27.jpg
+ |5 S" z* Q; D5 g; ~1 ?' Z( j9 q: T
其它常见问题
2 l4 ?* Y+ W2 r$ Y
" F3 p4 K. S/ W+ r% z5 U  N5 x1.那些企业可以自行打印税单?
- Z( K. ^% `' k5 s. J
  P2 a( B" D) f: U( B6 s( g. y& Q" m       ①仅支持报关单境内收发货人打印,代理和消费使用单位无法打印。  T  F9 I' ?0 q9 P  i
( L* j0 c3 q0 W
②开关打开以后申报的报关单,不论是属地或是异地注册企业,均可实现企业自行打印。(正式开通自助打印日之前的税单不可以打印,打印出来也不具备法律效力)
2 J# q( B7 w1 {, _& g; f) ^4 p9 |! t4 f" b
2.实施企业自主打印需要的相关软硬件支持, X5 h2 l% J0 Z1 k$ o5 S' G

' C8 F4 d- f# i) K5 J3 |9 W①浏览器:推荐企业用户使用谷歌( Chrome)浏览器、火狐( Firefox )浏览器、IE11浏览器。
& h3 f" X* A; \; O8 J! Q: B/ N# k6 o0 H( h
②打印机:彩色打印机,电子税单上有海关电子印章,需要彩色打印机才能在打印时体现出来。
* _9 K% ]: u* O3 C7 X- h8 Q+ G
* E8 E7 G6 H% i1 _* b5 \③打印纸张:企业可根据实际需要选择A4/A5或其他尺寸的纸张进行打印。
8 q7 B9 ^) x7 ^% }& J) N" {
3 [* G$ O3 [- }, u: D5 G/ Q, p3.企业通过电子支付方式缴纳税款后,何时可打印税单?
, |; g) s; z" }9 q, Y$ v7 B/ H% K$ T9 s6 @
企业通过电子支付方式缴纳税款后,一般可实时打印“海关专用缴款书”。# h) N6 n  a7 @# E

0 ^) E$ }4 r4 lEND' d4 i" {7 G( Q4 g% q& |4 ?
$ a/ O* _! L7 j4 G- `9 B/ L
供稿单位:关税处、统计处、数据分中心、厦门自贸试验区电子口岸有限公司
$ n' R) {; I  E1 L% U& ]
: U( i6 S8 u: R3 U# }, A: T" c原文作者:厦门海关12360
*滑块验证:
您需要登录后才可以回帖 登录 | 注册

本版积分规则

关闭

站长推荐上一条 /2 下一条

QQ|Archiver|手机版|小黑屋|外贸精英网 ( 京ICP备19046145号 )

GMT+8, 2026-2-12 12:27

Powered by Discuz! X3.5 Licensed

Copyright © 2001-2026 Tencent Cloud.

快速回复 返回顶部 返回列表