全归类师在线,免费帮你解决商品归类疑难问题

 找回密码
 注册

QQ登录

只需一步,快速开始

手机号码,快捷登录

手机号码,快捷登录

在线
客服

在线客服服务时间: 9:00-24:00

选择下列客服马上在线沟通:

快速
发帖

客服
热线

010-62010715
7*24小时客服服务热线

关注
微信

关务资讯公众号
顶部
海关AEO认证申请全攻略2022年预归类师考试秘籍中国船务课程视频2020年关务水平测试培训
申请进出口商品预归类视频!AEO认证政策解读商品归类在线解答海关AEO认证,100%通过
AEO认证服务网北京岸谷关务官网预归类服务-归类师权威操作预归类考试网
查看: 1006|回复: 0

中国从越南主要进口什么?出口什么最多?

[复制链接]
发表于 2021-4-29 22:26:00 | 显示全部楼层 |阅读模式

越南已成为2020年中国第六大贸易伙伴,比2019年增加2个等级。


据越南海关总署的初步统计,2020年越南与中国的进出口额达到1330.9亿美元,比2019年同期增长13.8%。

其中,越南对中国的出口额达到489亿美元,增长17.9%。越南对中国的进口额达到841亿美元,同比增长11.5%。越南对中国市场的贸易逆差额为352亿美元,比2019年增长3.74%。中国依旧是越南最大的贸易伙伴,最大的商品供应市场,以及是越南第二大出口市场(仅次于美国)。

2020年,越南与中国贸易的增长动力主要来自加工和制成品(达到370.7亿美元,增长20.06%)和建筑材料(达到31.2亿 美元,增长104.09%)。

据中国海关总署的统计,越南已成为2020年中国第六大贸易伙伴,比2019年上升2位。越南也是中国第八大商品供应市场,并且是中国第五大出口市场。

那么中国从越南主要进口什么出口什么?

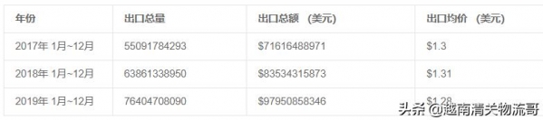
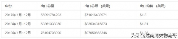
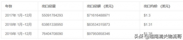
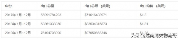
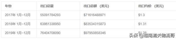
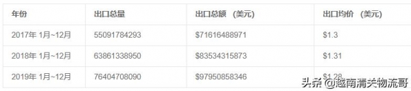
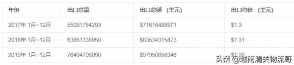
中国向越南总共出口了多少:


中国从越南主要进口什么?出口什么最多?-1.jpg




中国从越南主要进口什么?出口什么最多?-2.jpg



中国向越南出口哪些主要产品:


中国从越南主要进口什么?出口什么最多?-3.jpg



中国从越南总共进口了多少:


中国从越南主要进口什么?出口什么最多?-4.jpg




中国从越南主要进口什么?出口什么最多?-5.jpg



中国从越南进口哪些主要产品:


中国从越南主要进口什么?出口什么最多?-6.jpg
*滑块验证:
您需要登录后才可以回帖 登录 | 注册

本版积分规则

关闭

站长推荐上一条 /2 下一条

QQ|Archiver|手机版|小黑屋|外贸精英网 ( 京ICP备19046145号 )

GMT+8, 2025-12-17 00:04

Powered by Discuz! X3.5 Licensed

Copyright © 2001-2025 Tencent Cloud.

快速回复 返回顶部 返回列表