全归类师在线,免费帮你解决商品归类疑难问题

 找回密码
 注册

QQ登录

只需一步,快速开始

手机号码,快捷登录

手机号码,快捷登录

在线
客服

在线客服服务时间: 9:00-24:00

选择下列客服马上在线沟通:

快速
发帖

客服
热线

010-62010715
7*24小时客服服务热线

关注
微信

关务资讯公众号
顶部
海关AEO认证申请全攻略2022年预归类师考试秘籍中国船务课程视频2020年关务水平测试培训
申请进出口商品预归类视频!AEO认证政策解读商品归类在线解答海关AEO认证,100%通过
AEO认证服务网北京岸谷关务官网预归类服务-归类师权威操作预归类考试网
查看: 2709|回复: 0

2021年上半年海关干姜进口报关数据

[复制链接]
发表于 2021-8-21 13:27:03 | 显示全部楼层 |阅读模式
2021年上半年海关干姜进口报关数据
天津港报关公司、天津报关公司、天津港进口报关公司、天津报关行、天津进口报关、天津报关公司
一、海关干姜进口报关上半年1~6月份数据

2021年上半年海关干姜进口报关数据-1.jpg

点击此处添加图片说明文字


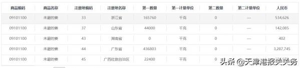
据统计2021年1到6月份海关进口干姜总数量为:557899.4千克。其中各个省份进口数量如下图所示:



2021年上半年海关干姜进口报关数据-2.jpg

点击此处添加图片说明文字

二、海关干姜进口报关一月份数据
2021年海关干姜进口报关1月份数据总计:90898千克。其中各个省份进口数量如下图所示:

2021年上半年海关干姜进口报关数据-3.jpg

点击此处添加图片说明文字

、海关干姜进口报关2月份数据
2021年海关干姜进口报关2月份数据总计:84515千克。其中各个省份进口数量如下图所示:

2021年上半年海关干姜进口报关数据-4.jpg

点击此处添加图片说明文字

、海关干姜进口报关3月份数据
2021年海关干姜进口报关3月份数据总计:668963千克。其中各个省份进口数量如下图所示:

2021年上半年海关干姜进口报关数据-5.jpg

点击此处添加图片说明文字

、海关干姜进口报关4月份数据
2021年海关干姜进口报关4月份数据总计:1966978千克。其中各个省份进口数量如下图所示:

2021年上半年海关干姜进口报关数据-6.jpg

点击此处添加图片说明文字


、海关干姜进口报关5月份数据
2021年海关干姜进口报关5月份数据总计:1336190千克。其中各个省份进口数量如下图所示:

2021年上半年海关干姜进口报关数据-7.jpg

点击此处添加图片说明文字

、海关干姜进口报关6月份数据
2021年海关干姜进口报关6月份数据总计:1431450千克。其中各个省份进口数量如下图所示:

2021年上半年海关干姜进口报关数据-8.jpg

点击此处添加图片说明文字
硅油纸进口报关、天津报关行、天津进口报关、天津报关公司、天津清关公司、天津港报关公司。天津港进口报关公司
*滑块验证:
您需要登录后才可以回帖 登录 | 注册

本版积分规则

关闭

站长推荐上一条 /2 下一条

QQ|Archiver|手机版|小黑屋|外贸精英网 ( 京ICP备19046145号 )

GMT+8, 2026-4-25 15:49

Powered by Discuz! X3.5 Licensed

Copyright © 2001-2026 Tencent Cloud.

快速回复 返回顶部 返回列表